H0001 VG32 Neutral Point for Coil Type 157B4112 or 157B4113 - Adjustment Procedure

08 July 1998 PDF File

Hydraulics

Version 1

 

This setting should be checked during commissioning or after a PVEM coil has been changed.

Please note that power must be supplied to the coil when carrying out this adjustment check. Power is only supplied to the coil when either of the remote joysticks is moved to activate a function.

Step 1. Start the engine and select high speed. Operate all leg and arm functions through their full travel.

Step 2. Select arms on the remote control selector switch if the coil to be checked is an arm function coil or stabilisers if a stabiliser coil.

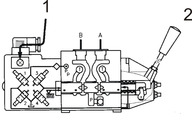
Step 3. Start with the front crane. Remove and reconnect the electrical plug (1 on drawing) from the PVEM coil (refer drawing below) and observe the manual control lever (2 on drawing) for any movement.

The rear crane joystick must be selected away from neutral so as to supply power to both front and rear control valves during this procedure. When checking the rear crane valve neutral setting the front crane joystick must be moved away from neutral.

SBnote

That power is only supplied to the coil when the remote joystick is moved. When the remote joystick is in its neutral position there is no power supply to the Danfoss coil. You must move a joystick (not the one you are checking) to check the neutral positions.

Step 4. If there is lever movement, adjustment can be made by removing (demounting) the coil from the control valve and adjusting the pin (3 on drawing) clockwise or anti- clockwise until the lever movement is nil or negligible when connecting and disconnecting the electrical plug (1on drawing).

Step 5. Carry out the above procedure for all remaining arm functions.