7 May 1999 PDF File |
Hydraulics |
Version 1 |
|
|
|
We recommend that you analyse the oil quality every time you change a hydraulic pump. If this is not a viable option then yuo should change the oil and the filters at the same time. |
|||
Disconnect the battery.
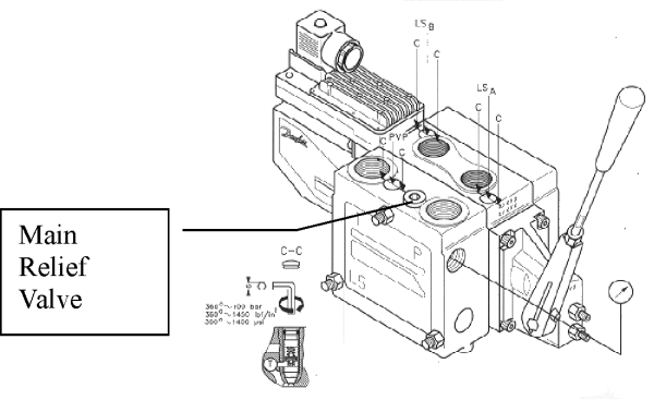
Nut torque for MK4 and MK5 = 40Nm (30 ftIbs). Nut torque for SB300, SB330 and SB360 = (170NM 125ftlbs)
|
|
The pump will require bedding in and will drag the engine speed down during the initial high pressure checks. |
