SL0005FR PDF File |
Version 2 |
SMARTlift |
08 Juil 05 |

MISE A NIVEAU DE LA REMORQUE |
Instructions |
|
|
ETALONNAGE |
|
|
|
2. ETALONNAGE |
|
|
|
3. ETALONNAGE |
|
|
|
4. ETALONNAGE |
|
|
|
5. ETALONNAGE |
|
|
|
7. ETALONNAGE |
|
|
Une fois le châssis mis à niveau dans les deux sens et les grues complètement en position repliée S'ASSURER QUE LE MOTEUR DIESEL NE TOURNE PAS. Aller de 'Etalonnage de chaques capteurs d'angle' à 'Etalonnage de 'l'angle du module avant', puis sélectionner CALIBRATE et appuyer sur le bouton rotatif.
|
8. ETALONNAGE |
|
|
|
9. ETALONNAGE |
|
|
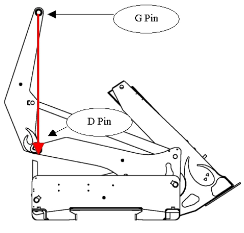
Pour toutes les tâches d'étalonnage où il faut utiliser un fil à plomb, le bloc d'alimentation doit être éteint une fois le fil à plomb en position. |
10. ETALONNAGE |
|
|
|
11. ETALONNAGE |
|
|
|
12. ETALONNAGE |
|
|
|
With the Trailer Level: Fully fold away the Arms and Stabilisers on both cranes. From the MENU PRINCIPAL select VIEW SENSOR VALUES and select FRONT ANGLE SENSORS check that the angles equal (within ± 1 degree) those listed in the tables below, repeat for REAR ANGLE SENSORS.
for SB361 |
|
Stabiliser Angle |
11º |
Top Arm Angle |
16º |
Bottom Arm Angle |
167º |
Front Elevation |
0º |
Front Camber |
0º |
For SB401 |
|
Stabiliser Angle |
11º |
Top Arm Angle |
18º |
Bottom Arm Angle |
167º |
Front Elevation |
0º |
Front Camber |
0º |
For SB330 |
|
Stabiliser Angle |
0º |
Top Arm Angle |
10º |
Bottom Arm Angle |
159º |
Front Elevation |
0º |
Front Camber |
0º |