|
|
|
|
S0010 PDF File |
Version 1 |
Structural |
03 Mars 04 |
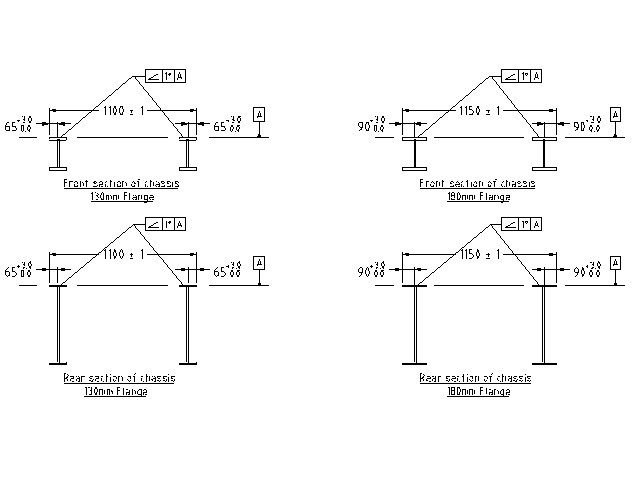
Pour permettre un mouvement correct des modules lorsqu'ils sont déplacés les dimensions/tolérances du châssis indiquées ci-dessous doivent être respectées après tout travail de réparation. Cette tolérance s'applique à la longueur du châssis traversé par les grues, toutefois les conditions structurales normales détermineront les tolérances exigées pour la longueur restante du châssis.
De l'extérieur à l'extérieur de la partie supérieure des arrêtes.
De la partie extérieure de l'arrête du châssis à l'aile verticale.
Platitude (Alignement angulaire) des arrêtes supérieures.
REFERENCES: |
Front Section of Chassis = vue avant du châssis (Arrête de 130 mm et 190 mm) |
|
Rear section of Chassis = vue arriere du châssis (Arrête de 130 mm et 190 mm) |
