S0026 Réparation des transferts de charge sur SB330
S0026 PDF File
|
Version 1
|
Structurel
|
30-03-06
|
Réparation des transferts de charge SB330:
La procédure suivante permet de réparer les transferts de charge lorsqu'ils sont endommagés.
Inspection des blocs de transfert de charge:
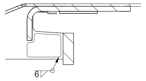
Les blocs de transfert de charge doivent être mesurés comme montré ci-dessous :

Figure 1: Vue arrière de la base montrant la position des blocs de transfert

Figure 2: Vue de la base montrant une vue de côté du bloc de transfert
Si les blocs de transfert sont très endommagés ils devront être remplacés. La référence pour le bloc de remplacement est S3-26031.
- Couper le bloc de transfert endommagé en retirant le montant minimum de matériau des plaques des trios bases de grue. Celles-ci doivent être nettoyées et préparés selon la spécification WP-25697.
- Positionner le(s) bloc(s) de transfert de charge de remplacement selon les dimensions ci-dessus et souder selon la spécification WP-25697.
- Si trop de matériau est retire des plaques de base de grue, alors un doubleur de 8mm en acier de 690 MPa devra être monté sur l'aile afin d'assurer une force adéquate du matériau.

Figure 3: Vue en coupe du bloc de transfert montrant le renfort sur l'aile de la base