
Note: Please provide the Serial Number of the sidelifter with all spare parts orders.
Item |
Part Number |
Description (SB450) |
Qty |
Notes |
|---|---|---|---|---|
|
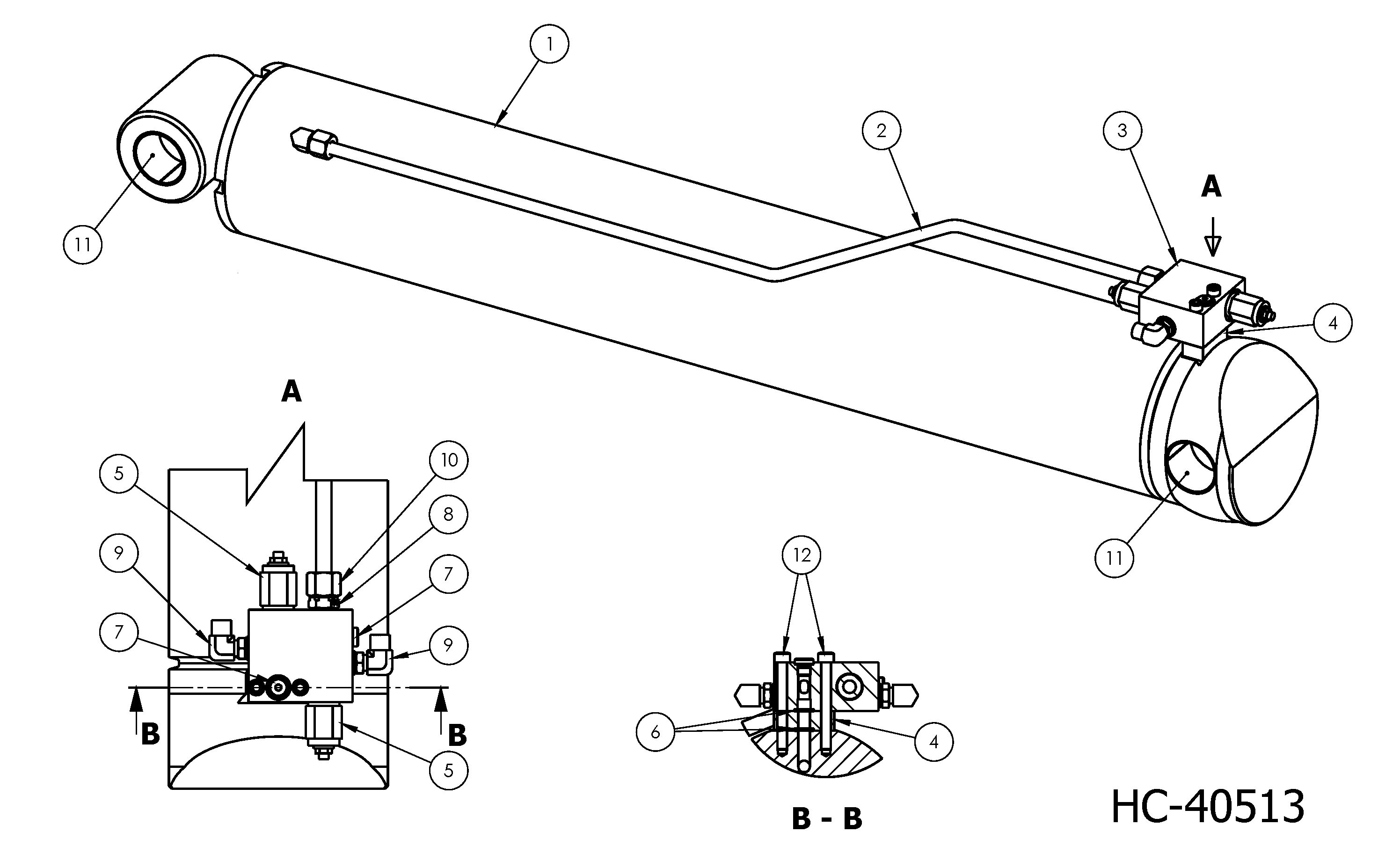
HC-40513 (HC-40512) |
Cylinder Hyd Bottom Lift RH Crane Assy (Cylinder Hyd Bottom Lift LH Crane Assy) |
|
|
1 |
HC-40135 |
Cylinder Hyd Bottom Lift |
1 |
1 |
2 |
HC-32831 (HC-32833) |
Feed Tube Feed Bottom Lift Cyl RH (shown) (Feed Tube Feed Bottom Lift Cyl LH) |
1 |
|
3 |
HC-32294 |
Block Cartridge Low Height Double Port |
1 |
|
4 |
HC-32295 |
Block Riser Cartridge |
1 |
|
5 |
HC-25754 |
Cartridge Overcentre Non Vented |
2 |
|
6 |
HC-42185 |
O-Ring 15.54 x 2.62 N70 |
2 |
|
7 |
HF-40479 |
Plug 1/4 BSPP |
2 |
|
8 |
HF-42493 |
Adaptor M24S-1/2BSPP ED |
1 |
|
9 |
HF-42496 |
Adaptor M20 x 3/8" BSPP 90o Elbow ED Seal |
2 |
|
10 |
HF-42501 |
Nut & Olive M24S |
1 |
|
11 |
BE-29013 |
Bearing Glacier 70 ID x 60 long |
4 |
|
12 |
FA-32715 |
Screw Socket Cap Gr 12.9 M10x90 Blk |
2 |
|

Note: Please provide the Serial Number of the sidelifter with all spare parts orders.
Item |
Part Number |
Description (SB450) |
Qty |
Notes |
|---|---|---|---|---|
|
HC-40511 |
Assembly Cylinder Hyd Top Lift |
1 |
|
1 |
HC-40157 |
Cylinder Hyd Top Lift |
1 |
1 |
2 |
HC-32830 |
Feed Tube Top Lift Cylinder |
1 |
|
3 |
HC-32293 |
Block Cartridge Low Height Single Port |
1 |
|
4 |
BE-29011 |
Bearing Glacier 60 ID x 40 long |
4 |
|
5 |
HC-25754 |
Cartridge Overcentre Non Vented |
1 |
|
6 |
FA-28719 |
Screw Socket Cap Gr 12.9 M10x60 Blk |
2 |
|
7 |
HF-40464 |
Adaptor 1/2BSPP/M-16mm Tube |
1 |
|
8 |
HF-40456 |
Adaptor 1/2BSPP/M-3/8BSPP/M |
1 |
|
9 |
HF-40485 |
Elbow Adj 3/8BSPP/M - 3/8BSPP/M |
1 |
|
10 |
HF-40479 |
Plug 1/4BSPP |
2 |
|
11 |
HF-40450 |
Washer Dowty Seal 1/2 |
1 |
|
12 |
HF-40449 |
Washer Dowty Seal 3/8 |
2 |
|
13 |
HC-42185 |
O-Ring 15.54 x 2.62 N70 |
1 |
|

Note: Please provide the Serial Number of the sidelifter with all spare parts orders.
Item |
Part Number |
Description (SB450) |
Qty |
Notes |
|---|---|---|---|---|
|
HC-36953 (HC-36952) |
Assembly Cylinder Hyd Stab Tilt RH (Assembly Cylinder Hyd Stab Tilt LH) |
|
|
1 |
HC-36939 |
Cylinder Hyd Stabiliser Tilt |
1 |
1 |
2 |
HC-32294 |
Block Cartridge Low Height Double Port |
1 |
|
3 |
HC-36974 |
Feed Tube Stab Tilt Cylinder |
1 |
|
4 |
HC-32295 |
Block Riser Cartridge |
1 |
|
5 |
HC-25143 |
Cartridge Pilot Check |
2 |
|
6 |
HC-42185 |
O-Ring 15.54 x 2.62 N70 |
2 |
|
7 |
HF-40479 |
Plug 1/4BSPP |
2 |
|
8 |
HF-42493 |
Adaptor M24S-1/2BSPP ED |
1 |
|
9 |
HF-42496 |
Adaptor M20 x 3/8" BSPP 90o Elbow ED Seal |
2 |
|
10 |
HF-42501 |
Nut & Olive M24S |
1 |
|
11 |
FA-32715 |
Screw Socket Cap Gr 12.9 M10x90 Blk |
2 |
|
12 |
BE-29011 |
Bearing Glacier 60 ID x 40 long |
4 |
|

Note: Please provide the Serial Number of the sidelifter with all spare parts orders.
Item |
Part Number |
Description (SB450) |
Qty |
Notes |
|---|---|---|---|---|
|
HC-36954 |
Assembly Cylinder Hyd Stabiliser Extend |
|
|
1 |
HC-36944 |
Cylinder Hyd Stab Extn |
1 |
1 |
2 |
HC-23366 |
Block Cartridge Double Port |
1 |
|
3 |
HC-25143 |
Cartridge Pilot Check |
2 |
|
4 |
HC-36975 |
Feed Tube Stabiliser Ext Cylinder |
1 |
|
5 |
HC-42185 |
O-Ring 15.54 x 2.62 N70 |
1 |
|
6 |
HF-40479 |
Plug 1/4BSPP |
2 |
|
7 |
HF-42493 |
Adaptor M24S-1/2BSPP ED |
1 |
|
8 |
HF-42494 |
Adaptor M24-3/8BSPP ED |
2 |
|
9 |
HF-42501 |
Nut & Olive M24S |
3 |
|
10 |
FA-28719 |
Screw Socket Cap Gr 12.9 M10X60 Blk |
2 |
|
Notes: