

Note: Please provide the Serial Number of the Sidelifter with all spare parts orders.
Item |
Part Number |
Description |
Qty |
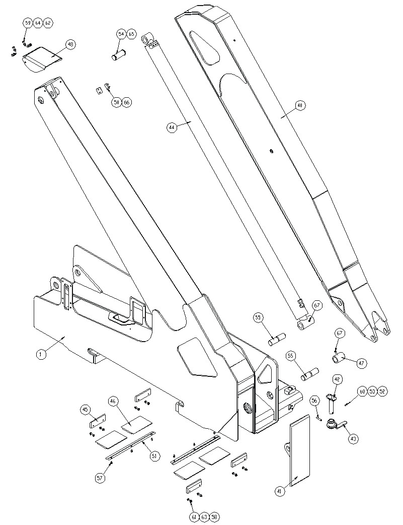
1 |
S7-30986 |
Crane SE400 L/H Sub Assy |
1 |
1 |
S7-30987 |
Crane SE400 R/H Sub Assy |
1 |
2 |
S7-30822 |
Arm Top SE400 |
1 |
3 |
S7-30823 |
Arm Bottom SE400 |
1 |
4 |
HC-30715 |
Cylinder Hyd Bottom Lift, SE400 |
1 |
5 |
HC-30716 |
Cylinder Hyd Top Lift, SE400 |
1 |
6 |
PN-30963 |
Pin A SE400 |
1 |
7 |
PN-30964 |
Pin B SE400 |
1 |
8 |
PN-30965 |
Pin D SE400 |
1 |
9 |
PN-30966 |
Pin C & E & F SE400 |
3 |
10 |
PN-30988 |
Pin G Clevis Type SE400 |
1 |
11 |
S7-30818 |
Plate Bash Bottom Arm L/H SE400 |
1 |
11 |
S7-30819 |
Plate Bash Bottom Arm R/H SE400 |
1 |
12 |
S7-31389 |
Clamp Hose Top Cylinder SE400 |
1 |
13 |
S7-31407 |
Plate Cap Pin Retainer SE400 |
6 |
14 |
S1-00907 |
Keeper Pin G SB360 (Half Circle) |
2 |
15 |
S3-26048 |
Plate Bash Offside Crane Base SB330 |
1 |
16 |
S3-22161 |
Block Load Transfer 20mm Flange SB300 |
2 |
17 |
S3-22162 |
Block Load Transfer 12mm Flange SB300 |
2 |
18 |
S3-26044 |
Block Spring Offside Bash Plate SB330 |
1 |
19 |
S3-26154 |
Shim Load Transfer Foot 1mm SB300/SB330 |
2 |
20 |
S3-26155 |
Shim Load Transfer Foot 2mm SB300/SB330 |
2 |
21 |
S3-26156 |
Shim Load Transfer Foot 3mm SB300/SB330 |
2 |
22 |
S3-31032 |
Washer Spring Block Offide Bash SB330 |
1 |
23 |
FA-28622 |
Screw Set Hex Class 8.8 M10X25 ZP |
2 |
24 |
FA-28648 |
Bolt Hex Class 8.8 M12X90 ZP |
4 |
25 |
FA-28711 |
Screw Socket Cap Gr 12.9 M8X80 Blk |
6 |
26 |
FA-28730 |
Screw Socket Flat Head Gr 12.9 M6X20 ZP |
4 |
27 |
FA-28734 |
Screw Socket Flat Head Gr 12.9 M8X30 ZP |
1 |
28 |
FA-28772 |
Nut Nyloc M12 ZP |
4 |
29 |
FA-28832 |
Washer Flat M10 |
2 |
30 |
FA-28838 |
Washer Flat M12X28.5 ZP |
8 |
40 |
|
Stabiliser Extension (-80) SE400 |
|
|
Stabiliser Extension (+80) SE400 |
|
|
|
Stabiliser Extension (+160) SE400 |
|
|
|
Stabiliser Extension (0) SE400 |
|
|
41 |
S7-30971 |
Foot SE400 |
1 |
42 |
S3-26034 |
Centre Twistlock Crane Base SB330 |
2 |
43 |
S3-26040 |
Handle Twistlock Crane Base SB330 |
2 |
44 |
HC-30714 |
Cylinder Hyd Stabiliser Extension, SE400 |
1 |
45 |
S7-30824 |
Wear Pad Side Crane Base SE400 |
4 |
46 |
S7-30826 |
Wear Pad Crane Base 13mm SE400 |
4 |
47 |
S7-30975 |
Spacer Foot SE400 |
1 |
48 |
S7-31384 |
Plate Bash Housing SE400 |
1 |
50 |
S1-18365 |
Support Lower Stabiliser Leg Cyl SB360 |
2 |
51 |
S1-31065 |
Retainer Wear Pad Crane Base |
2 |
52 |
TP-22361 |
Ball Steel |
2 |
53 |
TP-22382 |
Spring Twistlock Centre |
2 |
54 |
PN-30969 |
Pin J SE400 |
1 |
55 |
PN-30970 |
Pin K SE400 |
2 |
56 |
FA-27891 |
Pin Roll M10 X 55 |
2 |
57 |
FA-28602 |
Screw Set Hex Class 8.8 M8X12 ZP |
6 |
58 |
FA-28609 |
Bolt Hex Class 8.8 M8X45 ZP |
8 |
59 |
FA-28624 |
Screw Set Hex Class 8.8 M10X35 ZP |
4 |
60 |
FA-28750 |
Screw Grub M10 X 012 |
2 |
61 |
FA-28770 |
Nut Nyloc M8 ZP |
8 |
62 |
FA-28771 |
Nut Nylok M10 |
4 |
63 |
FA-28827 |
Washer Flat M8X19 ZP |
16 |
64 |
FA-28832 |
Washer Flat M10 |
8 |
65 |
FA-28923 |
Circlip External M45 |
2 |
66 |
FA-29755 |
Screw Socket Cap Gr 12.9 M6X20 ZP |
4 |
67 |
FA-30630 |
Screw Socket Cap Gr 12.9 M8 X 35 ZP |
2 |
S8-33318 - Offside Stabiliser Leg - optional.