
Note: Please provide the Serial Number of the Sidelifter with all spare parts orders.
Item |
Part Number |
Description |
Qty |
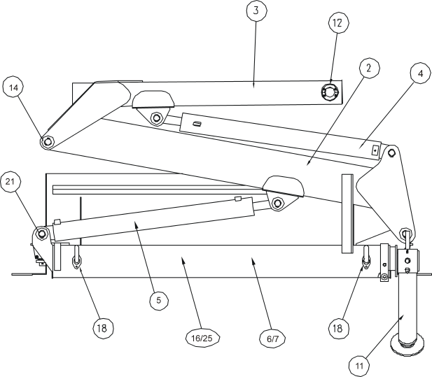
2 |
S4-25237 |
Crane Bottom Arm SB04 |
|
3 |
S4-25236 |
Crane Top Arm SB04 |
|
4 |
HC-31657 |
Top Lifting Ram metric SB04 |
|
5 |
HC-31659 |
Bottom Lifting Ram metric SB04 |
|
6 |
S4-13661 |
Stabiliser Extension Manual Left Hand SB04 |
|
7 |
S4-13566 |
Stabiliser Extension Manual Right Hand SB04 |
|
11 |
SB6941-80 |
Ram Stabiliser Leg SB04 |
|
12 |
S3-21824 |
Plate Keeper Pin G SB300 |
|
14 |
FA-30244 |
Circlip External M40 |
|
16 |
S4-25219 |
Wear Pad Top Stabiliser Extension SB04 |
|
18 |
HB-3440524 |
Lock Leg 14.5mm Proud |
|
21 |
PN-25302 |
Pin B C & F SB04 |
|
25 |
S4-31645 |
Plate Backing Wear Pad Stabiliser Extension SB04 |
|

Note: Please provide the Serial Number of the Sidelifter with all spare parts orders.
Item |
Part Number |
Description |
Qty |
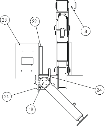
8 |
PN-03036 |
G Pin SB04 Assembly |
|
19 |
S4-13553 |
Plate Keeper Leg Ram SB04 |
|
22 |
S4-31641 |
50x50x6 MSA x 400 long |
|
23 |
S4-31633 |
Plate Valve Mounting SB04 |
|
24 |
HB-3529827 |
Stabiliser Sprag Pin HIAB |
|
|
HC-34077 |
Over-Centre Valves 1800 p.s.i. 1CE 90-F-20S4 |
|